产品中心PRODUCT CENTER
联系方式contact us
深圳昱灿电子有限公司
电话:0755-27933516
联系人:石先生/谭小姐/李先生
地址:深圳市宝安区79区宝民二路好运来商务大厦B座
E-mail:sz.shi@163.com
网址:www.szyucan.com
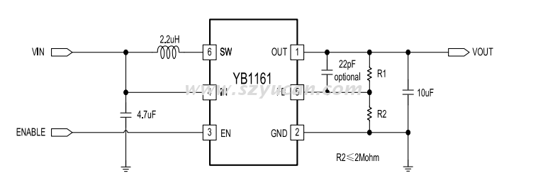
YB1161低输入工作电压1uA极低静态待机电流高效DC升压转换芯片,输出关断 输入输出反向电流保护 输出电压可调 超低功耗升压
昱灿 YB1161S2G SOT23-6 DC-DC同步升压 5V 1uA功耗高效同步升压 ADJ 1uA静态
主要应用领域: 蓝牙模块,安防,监控模块,
引脚兼容型号: SY7072 ETA1061 ETA1060
YB1161S2G.PDF
昱灿 YB1161S2G SOT23-6 DC-DC同步升压 5V 1uA功耗高效同步升压 ADJ 1uA静态
主要应用领域: 蓝牙模块,安防,监控模块,
引脚兼容型号: SY7072 ETA1061 ETA1060
YB1161S2G.PDF



YB1161 产品手册/数据手册/PDF下载
YB1161S2G.PDF
YB1161 PIN TO PIN替代型号: SY7072,ETA1061更多产品资料 产品选型 报价 定货请联络业务人员


